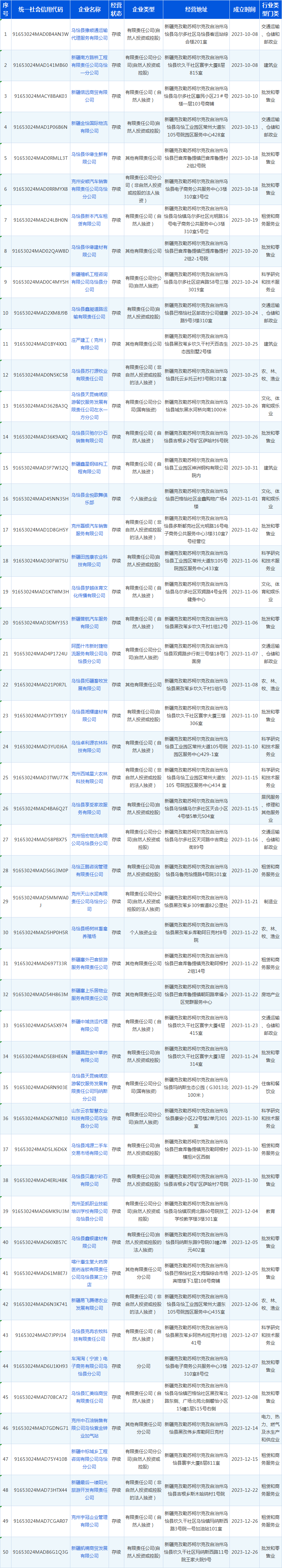
乌恰县市场监督管理局2023年第四季度新注册企业名单
| 索 引 号 | K45899617/2023-03117 | 主题分类 | |
| 发布机构 | 乌恰县市场监督管理局 | 发布日期 | 2023-12-27 17:23 |
| 名 称 | |||
| 文 号 | 〔〕号 | 有 效 性 | |
| 来 源 | 乌恰县市场监督管理局 | ||

解读文章
| 索 引 号 | K45899617/2023-03117 | 主题分类 | |
| 发布机构 | 乌恰县市场监督管理局 | 发布日期 | 2023-12-27 17:23 |
| 名 称 | |||
| 文 号 | 〔〕号 | 有 效 性 | |
| 来 源 | 乌恰县市场监督管理局 | ||
